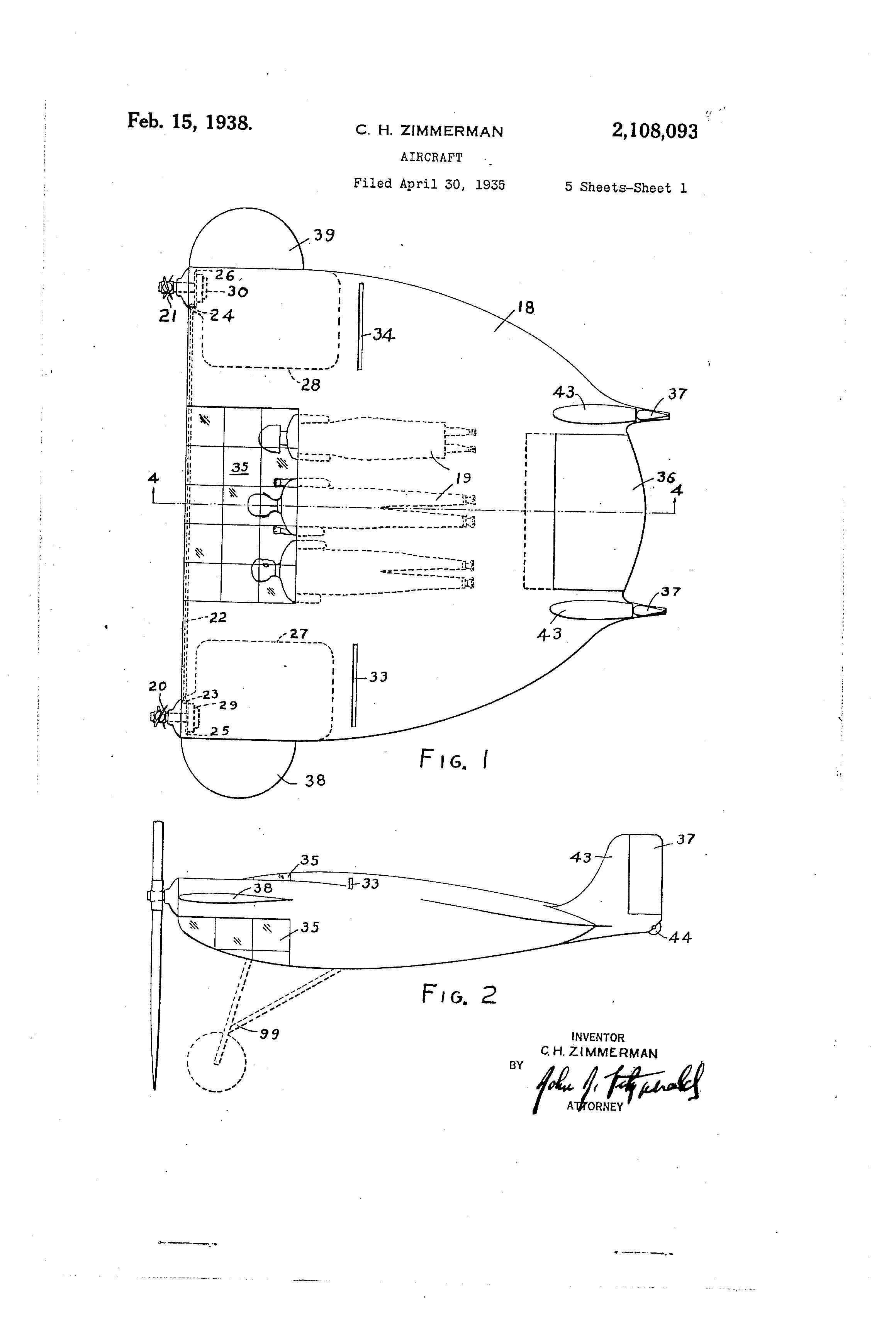
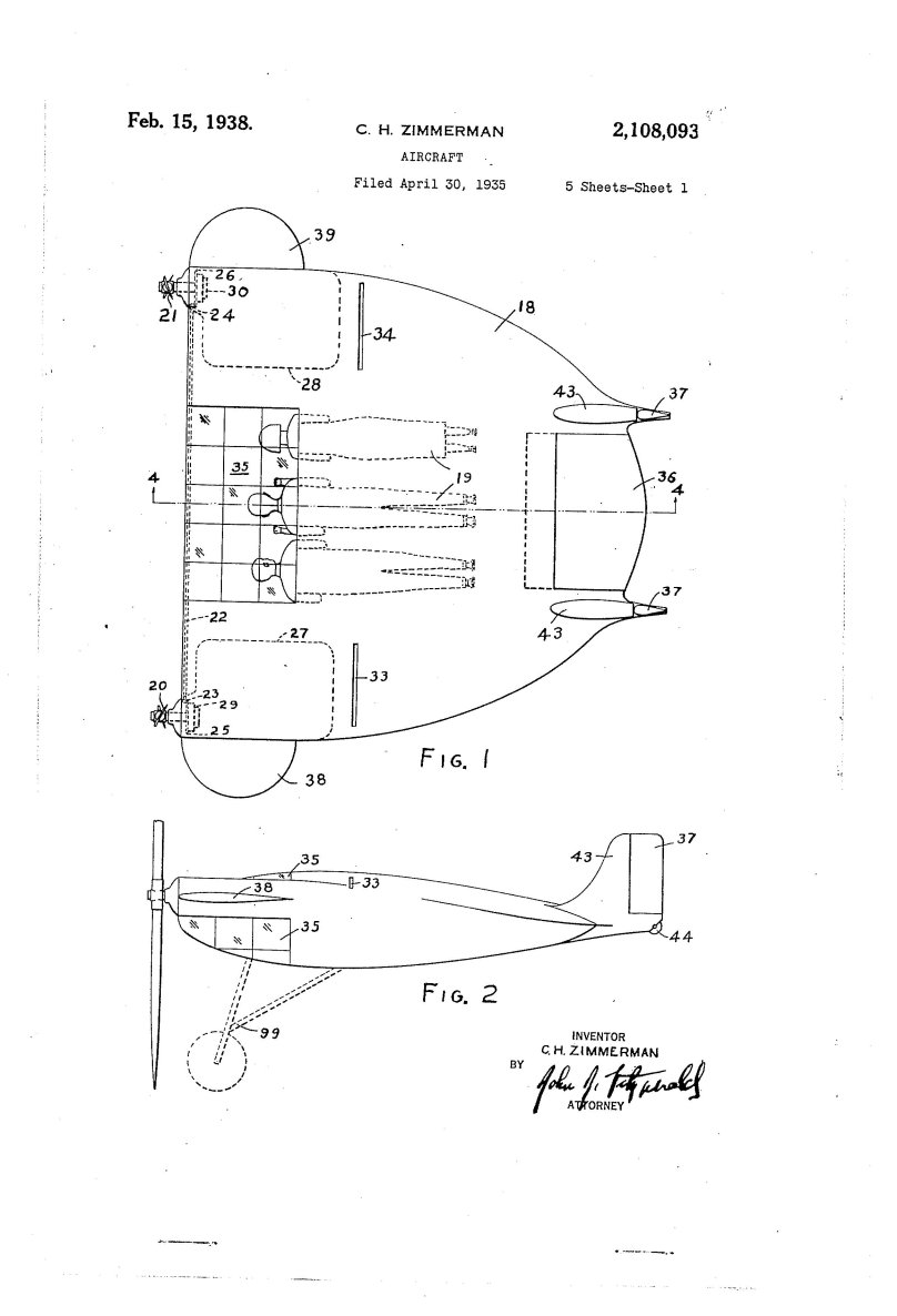
Vought v 173
Chance Vought v-173
Vought xf5u
Интересные самолеты
Chance-Vought xf5u Pancake
Самолет Pancake
XF-5u «скиммер»
Футуроскоп во Франции

Фото V173 самолет
Летающий блин Циммермана
Vought xf5u
V173 самолет
Chance-Vought xf5u Pancake
Chance Vought v-173
Самые необычные самолеты
Vought xf5u
Vought xf5u
Chance Vought v-173
Крыло малого удлинения
Chance-Vought xf5u Pancake
Аэродинамическая труба для самолетов
Летающий блин Циммермана
Летающий блин Циммермана
Дисколет рейха
Chance-Vought xf5u Pancake
Xf5u Flying Pancake
Авиамодели самолетов
V-173 Flying Pancake
Vought SBU-1 Corsair
V-173 Flying Pancake
Xf5u самолет

Фото V-173 Flying Pancake
B-17 Flying Fortress
Xf5u Flying Pancake
Super Guppy 377sg
F4u Corsair
Необычные самолеты
Northrop n-9m
Модели кораблей из потолочной плитки чертежи
Curtiss xf14c
Grumman f-9 cougar
Склеивается
Хьюз XF-11
F4u Corsair чертеж
Похожие фотографии