Gun fire control system
HMCS Haida
ПУАЗО-1 (прибор Крузе).
Gun Fire Control System MK 34
MK 56 Gun
Fire Control USS
Системы корабельные управления огнём
Mk37 Director

Фото Wiki FCS
Минас Жерайс линкор
Fire Control System
HMS Valiant 1914
DDH-143 Shirane
Ракета 162 Рим
Gun Fire Control System mk56

Фото Mark 56 Gun Director
Система управления огнём
Ship Radar
SPG-60 Gun Fire Control Radar
Gun Fire Control Radar mk19
SPG-60 Gun Fire Control Radar
Турель б-29
Зенитная пушка QF-5,25 MK-II
Gun Fire Control System mk56
ПУАЗО прибор управления артиллерийским зенитным огнем
FLW 200 боевой модуль
Gun Fire Control System mk56
Fire Control USS
Автономное оружие
Боевой модуль "Дельта" 23 мм
Боевой модуль xm153
Система управления огнем БМП 2
Пушка m242 Bushmaster
127-Мм/54 MK.42
PANLOS Jiaolung
94-Мм зенитная пушка q.f- 3,7-inch
Gun Fire Control Radar mk19
M230lf 30mm Cannon
Mk37 Director
Российская зенитная установка

Фото Gun Fire Control System MK 34
Rheinmetall ssw40
Система управления огнем Калина т90
UGM-133 Trident II
Sig Sauer p320 Custom
Аналоговая система управления огнём
SM-6 зенитная управляемая ракета
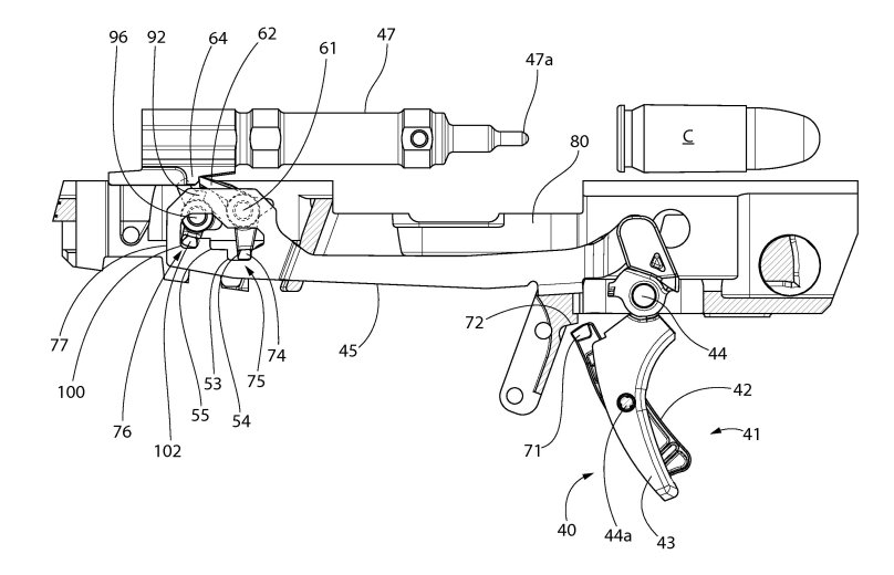
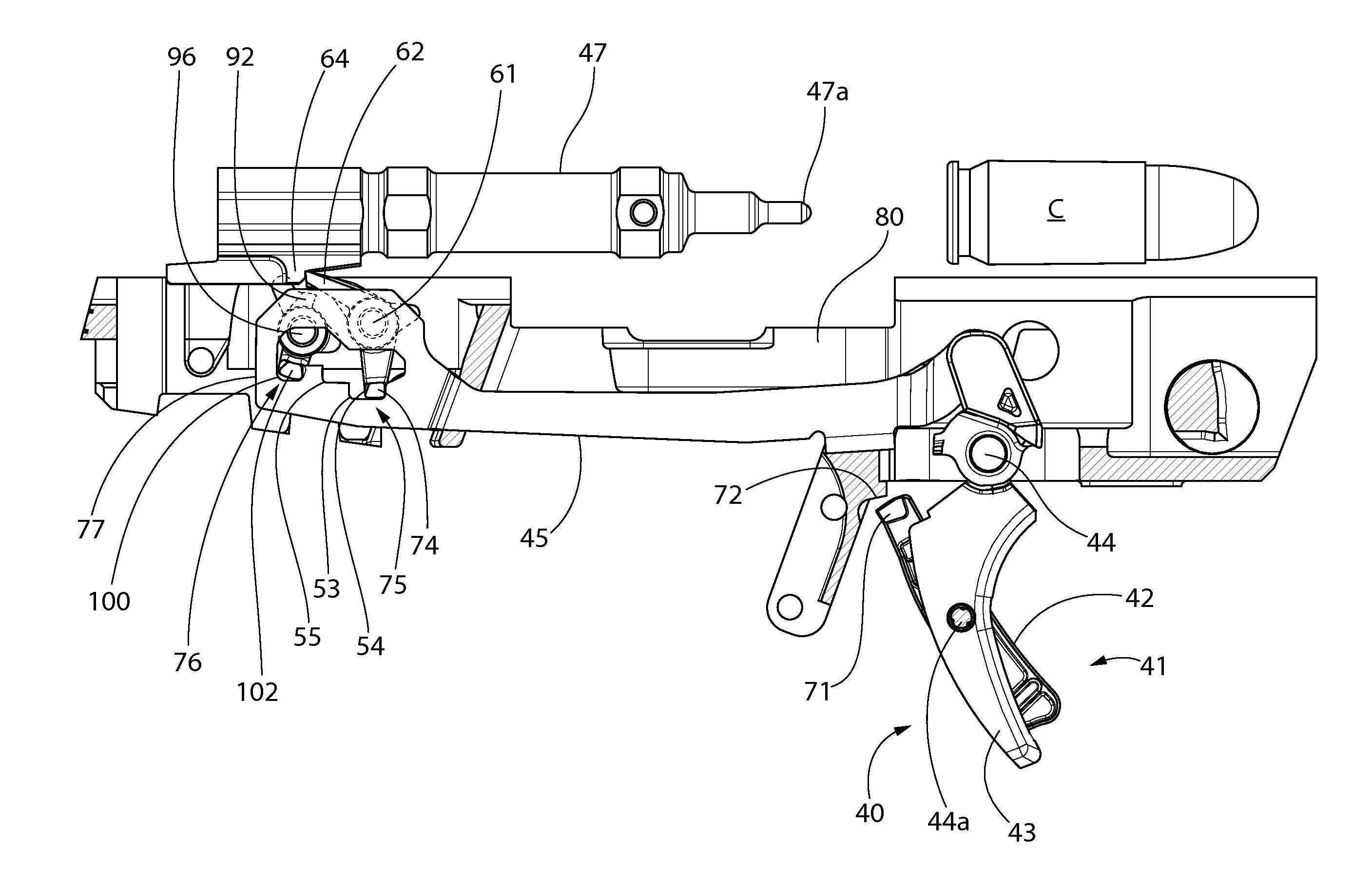
Mk38 25mm
Mk47 «Striker» 40
Похожие фотографии